会员动态
Insight数据库
2022-03-24
7520
3 月 22 日,CDE 官网显示,齐鲁制药的 3.4 类生物药 注射用罗普司亭 申报上市。今年 1 月 7 日,协和麒麟的注射用罗普司亭才刚刚获批上市,用于原发免疫性血小板减少症(ITP)
来自:CDE 官网
罗普司亭是第二代口服 TPO-R 激动剂类药物,最早于 2008 年 7 月在澳大利亚上市,其后相继由 FDA、EMA 批准上市,用于免疫性血小板减少性紫癜的二线治疗,具有起效快、给药频率低、安全性更优等特点。TPO-R 激动剂(TRA)可通过与细胞膜上的 TPO 受体(跨膜区)结合,激活信号转导通路,刺激人类骨髓祖细胞向巨核细胞的分化和增殖,促进巨核细胞成熟,从而增加血小板的生成。
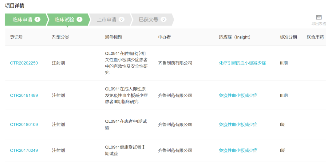
据 Insight 数据库,齐鲁制药的 QL0911(注射用重组人血小板生成素拟肽-Fc 融合蛋白)早在 2013 年就向 NMPA 提交了临床试验申请,历时多年临床开发。在国内,齐鲁共启动了 4 项临床试验,包括两项 III 期临床,分别针对成人慢性原发免疫性血小板减少症 和 肿瘤化疗相关性血小板减少症(点击相应适应症,可跳转至 Insight 临床试验详情页)。
QL0911 项目概览(Insight)
来自:Insight 数据库 项目进度模块(http://db.dxy.cn/v5/home/)
免疫性血小板减少症(ITP)既往称特发性血小板减少性紫癜,是一种以体液免疫和细胞免疫介导的血小板过度破坏和巨核细胞成熟障碍为特征的获得性出血性疾病,约占出血性疾病总数的 1/3。我国成人 ITP 年发病率为 5~10/10 万,60 岁以上老年人是该病的高发群体;同时,ITP 也是儿童最常见的出血性疾病。ITP 患者多见为皮肤黏膜出血,严重者可发生内脏出血甚至颅内出血,重症 ITP 可能致死。
ITP 的一线治疗主要是糖皮质激素和免疫球蛋白,一线治疗失败或复发后的二线治疗主要包括各类免疫制剂、血小板生成素受体(TPO-R)激动剂和脾切除等方案。第一代 TPO 药物为聚乙二醇化人巨核细胞生长发育因子 (PEG-rhMGDF) 和重组人血小板生成素 (rhTPO),但仍然有约 40% 的患者治疗无应答;第二代 TPO 受体激动剂主要为罗普司亭和艾曲泊帕乙醇胺。据 Insight 数据库 项目进度模块显示,齐鲁的艾曲泊帕也已经处于上市申请中(CYHS2100079)。
齐鲁制药 TPOR 项目
来自:Insight 数据库 项目进度模块(http://db.dxy.cn/v5/home/)
全球范围内,已获批的 TPO-R 激动剂类药物共有 5 款,包括芦曲泊帕、艾曲泊帕、罗普司亭、阿伐曲泊帕和海曲泊帕乙醇胺。其中诺华的艾曲泊帕乙醇胺片最早在 2017 年国内获批进口(商品名:瑞弗兰);复星医药引进的阿伐曲泊帕在 2020 年 4 月获批上市,成为同类第 2 款;而恒瑞的 TPO-R 激动剂海曲泊帕乙醇胺在 2021 年 6 月获批上市。据诺华财报显示,2020 年艾曲泊帕全球销售额为 17.38 亿美元,同比增长 22.7%。
会员动态
医脉通内分泌科
2026-01-15
63
会员动态
中国医药创新促进会
2026-01-12
123
会员动态
恒瑞医药
2026-01-09
135