EN
会员单位 会员动态 入会申请 入会咨询 会员权益 会费标准
进攻超 4000 亿市场!齐鲁制药第 6 款创新口溶膜报上市,管线中还有多少「后招」?
会员动态 Insight数据库 2022-11-04 4379

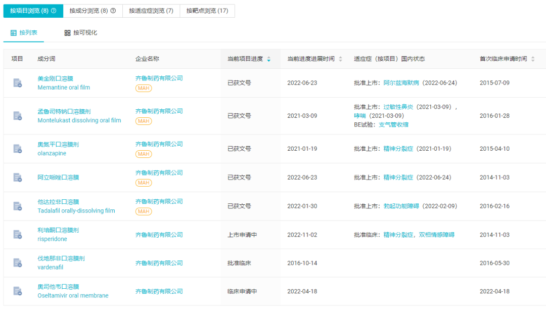
11 月 2 日,CDE 官网显示,齐鲁制药的 2.2 类改良型新药「利培酮口溶膜」申报上市。利培酮是一款针对精神分裂症或双相情感障碍开发的药物,对于此类精神科疾病而言,口溶膜剂对依从性的改善有望带来更多临床优势。

值得一提的是,这已经是齐鲁推向市场的第 6 款口溶膜剂,在此之前,该公司已有 5 款口溶膜获批上市。

截图来自:CDE 官网

超 4000 亿改良型新药市场!

口溶膜细分领域,齐鲁独占鳌头

如今,随着国家集采的推进和成熟,仿制药的水分已经逐渐被挤出,创新开发成为中国医药行业的主旋律。而在业内人士最为聚焦关注的肿瘤创新药之外,改良型新药也逐渐脱颖而出。

据弗若斯特沙利文数据显示,中国改良型新药市场整体增长较快,在 2016 到 2021 年已经从 2614 亿元市场规模增长到了 3897 亿,2022 预计将突破 4000 亿大关。

改良型新药在已知活性成分(API)的基础上,通过对结构、剂型、处方工艺、给药途径、适应症等进行优化,带来明显临床优势。

相较于全新靶点和结构的创新药,在已知活性成分基础之上,改良型新药的临床研发周期大大缩短,成为当前新药研发的热点方向之一。而口溶膜是其中值得关注的一个细分类别,且竞争格局相对良好,尤其在依从性方面的改善带来显著优势。

口腔速溶膜剂是一种新型口服制剂,是药物与适宜的成膜材料加工制成的膜状制剂,放入口中即粘在给药部位,不易吐出,快速分散,可减少患者不配合服药的现象;对于全身作用的药物来说,活性物质可以经口腔黏膜直接吸收,避免首过效应。

据 Insight 数据库显示,当前国内共 25 个口溶膜剂 2 类改良型新药,治疗领域来看显然对精神领域着墨颇多,居于前三位的适应症分别为:精神分裂症、勃起功能障碍、阿尔兹海默病。齐鲁制药显然是这一领域的佼佼者,坐拥 8 个项目,如今已经逐渐开花结果。

国内口溶膜类改良新药适应症分布(左)

布局企业分布(右)

截图来自:Insight 数据库网页版(http://db.dxy.cn/v5/home/)

据 Insight 数据库,齐鲁制药早在 2014 - 2016 年就开始密集布局口溶膜项目,这些项目最终在 2021 年开始进入收获期。2021 年 1 月,齐鲁的首款 2 类口溶膜药物奥氮平获批上市,此后两个月孟鲁司特钠口溶膜也同样获批;2022 年度,齐鲁又有 3 款口溶膜获批上市,今日又新申报一款。

在上述提到的口溶膜主攻治疗领域中,齐鲁已经实现了商业化产品的全覆盖。同时 3 款针对精神障碍疾病的口溶膜产品,也将协同加强该公司在这一领域的品牌优势。

齐鲁制药的 8 款口溶膜改良型新药

截图来自:Insight 数据库网页版

新药管线蓄势待发

齐鲁制药是国内老牌药企了。在仿制药领域的实力自然无需赘言,改良新又在前些年的布局之中逐渐开花结果,创新药也同样开始发力冲刺。Insight 数据库显示,和国内总体趋势一致,齐鲁制药的创新药申报也在 2020 年开始蓄势,2021 年爆发,逐渐进入高峰期。

齐鲁制药创新药近年趋势(*国内进度)

截图来自:Insight 数据库网页版

最先实现上市商业化的将是 ALK/ROS1 抑制剂伊鲁阿克片。这是第 2 款国内自主研发的 ALK 抑制剂,临床开发进程最早起始于 2016 年,去年 7 月申请上市,根据新药平均审评时长及当前受理号审评进度,该药有望在今年获批上市,为齐鲁带来首款 1 类新药。

伊鲁阿克国内项目进度

截图来自:Insight 数据库网页版

处于 III 期临床的 5 款新药均为生物药。药物类别上讲包括 2 款单抗、2 款融合蛋白、1 款单抗复方;治疗领域来看,4 款均为肿瘤药,TPOR 融合蛋白 QL0911 也能同抗肿瘤药物形成联动,用于化疗引起的血小板减少症。

齐鲁制药 III 期临床管线

*点击图片,可放大查看内容

截图来自:Insight 数据库网页版

其中 QL-1706 值得关注,这款药物来自于齐鲁子公司 Sound Biologics 的 MabPair 抗体专利平台。该平台可实现一个细胞系表达两种抗体且比例稳定,单药同时覆盖双靶点,阻断不同信号通路,在治疗效果叠加的同时降低患者经济负担。

与常规双特异性抗体平台相比,MabPair 开发的新药在结构上更接近天然抗体,成药性高,在两个抗体之间比例的配置及 Fc 骨架的选择灵活性方面有很大的优势。该平台基于电荷不同相互作用方式解决了轻、重链错配问题,更大程度地确保了抗体药物的稳定性。

MabPair 平台与普通双抗、单抗联用的对比

截图来自:企业官网

Insight 数据库收录了 QL1706 的 4 项临床结果,自 2021AACR 至 2022ASCO,均为早期数据。其技术优势能否转化为最终的临床优势,还要看后续临床结果的持续读出。

QL1706 已披露临床结果

截图来自:Insight 数据库网页版

除 QL1706 之外,CD20/CD37 单抗复方 QLP31907 也是基于 MabPair 平台开发的双抗。在已披露类别和靶点的早期管线中,加之临床前的 18 款,生物新药的布局已经超过了化药。尤以双抗为多,其余还布局了一些新兴领域,比如 siRNA、CAR-巨噬细胞等。齐鲁制药早期临床新药类别分布(*分期:临床前+申请临床+获批临床+ I 期临床 + II 期临床)

截图来自:Insight 数据库网页版

化药领域,今年新进 I 期临床的四代 EGFR 抑制剂 QLH11811 和 pan-RAF 抑制剂 QLH11906 值得期待,这两款药物均为抗肿瘤药。抗肿瘤药物之外,齐鲁还开发了一款与辉瑞 Paxlovid 相似的新冠药物 QLS1128,虽未披露靶点,但其临床方案同样联用利托那韦,今年 7 月在国内开展 I 期临床。siRNA 药物 AB-729 则引进自 Arbutus Biopharma,这是一款乙肝治疗药物。双抗药物国内已有 3 款进入 I 期临床,包括 DLL3/CD3 双抗 QLS31904,CLDN-18.2/CD3 双抗 QLS31905,PD-L1/4-1BB 双抗 QLF31907。ADC 药物来看,齐鲁也布局了一款 MUC1 ADC,来源于与 Peptron 公司的合作。