产业资讯
医药魔方
2025-08-08
494
2025年上半年,国产双抗License-out交易继续高歌猛进,交易总金额达到92.57亿美元,已超过2024年全年水平(91.54亿美元);其中首付款金额为13.45亿美元,也几乎追平去年全年的14.29亿美元。
交易热潮背后,PD-(L)1/VEGF双抗作为主力赛道仍在持续释放价值。三生制药与辉瑞达成的PD-1/VEGF双抗授权合作,以高达60.5亿美元的总金额和12.5亿美元的首付款,刷新国产双抗交易纪录。
国产双抗技术如今不仅实现“临床突破”,也迈入“全球输出”阶段。而在PD-(L)1/VEGF双抗格局渐趋清晰、出海交易已形成规模的背景下,行业正在迫切探寻:下一个具备BD潜力的“宝藏靶点组合”在哪里?
眼科蓝海:Ang2/VEGF双抗的迭代机遇
眼科双抗产品是全球市场的“稀缺资源”。截至目前,仅罗氏的Ang2/VEGF-A双抗法瑞西单抗(faricimab)一款药物获批上市。凭借双重血管生成抑制机制(Ang2+VEGF-A),该药物不仅能显著减少眼底渗出、稳定血管结构,还能将给药间隔延长至每4个月一次,极大减轻了患者负担。
2024年,法瑞西单抗销售额突破44亿美元,并成为眼科疗法中增速最快的明星产品,这也恰恰凸显了市场对更优效、更长间隔治疗方案的迫切需求。罗氏还在持续布局下一代Ang2/VEGF-A双抗产品zifibancimig,目标是将给药间隔进一步延长至6个月一次。
而诺华、再生元/拜耳、安进等头部公司目前仍聚焦VEGF等单靶点方案,尚无双抗产品面世,眼科市场迭代的需求已经出现。这一赛道也吸引了多家制药巨头布局,机会窗口正在打开。
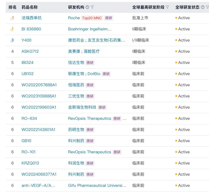
中国药企也敏锐捕捉到Ang2/VEGF双抗的潜在机遇,正加速推进相关布局。目前,已有4款国产Ang2/VEGF双抗进入临床阶段,包括友芝友/康哲Y400(I/II期)、奥赛康/蔼睦医疗ASKG712(I期)、信达IBI-324(I期)、星眸生物XMVA09(II期,基因治疗药物),多项早期临床数据已陆续披露,展现出良好前景。

来源:医药魔方NextPharma数据库研发赛道排名
其中,IBI-324在临床前研究的数据显示,相较于法瑞西单抗,其对VEGF的结合能力和活性提高了约4-5倍,对Ang-2通路活性则提升了两个数量级。在糖尿病性黄斑水肿(DME)患者中的I期临床研究中,IBI-324治疗后患者视力功能和视网膜解剖结构(黄斑中央区)均观察到改善,且未发生剂量限制性毒性、眼内炎症或眼部严重不良事件。
ASKG712针对DME的I期临床数据同样亮眼:首个给药剂量组即观察到中心视网膜厚度(CST)下降,在第三次给药后第84天,两个剂量组(3mg和6mg)视力(BCVA)分别改善了8.7±5.5字母和10.7±12.1字母。至第168天,所有患者疾病稳定,无一需接受挽救治疗,疗效维持良好,且未出现眼部严重不良反应。该药还在开展针对年龄相关性黄斑变性(AMD)人群的临床研究。
后续,只要国产Ang2/VEGF双抗在临床上持续交出有说服力的数据,就有望复制罗氏的打法,并在差异化上做出更多突破。同时,国产Ang2/VEGF双抗的临床前梯队也相当扎实,恒瑞、药明、科兴等7家企业正在积极推进管线研发。
整体来看,国产Ang2/VEGF赛道活跃度高,动能强劲,也有望带动其他相关靶点的眼科双抗受到更多关注,成为下一轮“出圈”的潜力方向。
血液瘤/自免:三大TCE持续出击
血液肿瘤无疑是T细胞衔接器(TCE)类双抗最先实现商业化落地的主战场。在全球已获批的11款TCE双抗中,9款聚焦血液瘤,其中8款靶向CD3/BCMA、CD3/CD20、CD3/CD19三大靶点组合,构成了TCE最核心的靶点阵地。安进的CD3/CD19双抗贝林妥欧单抗(Blincyto)2024年销售额已达12.16亿美元,成为首个迈入“十亿美元俱乐部”的TCE重磅品种,商业化价值已被充分验证。
而且,这三类TCE正加速向自身免疫性疾病领域拓展。通过精准靶向B细胞不同发育阶段的抗原,实现对致病B细胞的深度清除,TCE有望为系统性红斑狼疮、类风湿关节炎等难治性自免疾病提供新的治疗路径。早期研究结果也初步印证了这一机制的可行性,进一步点燃了市场对TCE在自免领域的高度期待。
当这三大TCE同时成为血液瘤与自免疾病的“双重入口”,也为企业带来了更具战略价值的BD窗口。2024年,该领域已有4笔国产出海交易落地,2025年热度不减,康诺亚、智翔金泰、和铂纷纷促成合作,为国产TCE走向全球打开了更广阔的通道。
CD3/BCMA是当前出海最活跃的TCE靶点,岸迈、康诺亚、智翔金泰、和铂生物等四家公司已相继完成license-out交易,总交易金额超过26亿美元,可以说是国产TCE出海的先锋阵营。BCMA作为多发性骨髓瘤核心靶点,已在双抗、CAR-T、ADC等多赛道广泛验证,虽然竞争激烈,但适应症拓展、联合疗法开发和自免应用仍具潜力。除出海项目外,正大天晴、益科斯特等也在推进临床研究,更多管线蓄势待发。

来源:医药魔方NextPharma数据库研发赛道排名
而CD3/CD20与CD3/CD19领域的国产TCE布局虽广,但已落地的BD交易仍相对有限,留有进一步突破的空间。CD20广泛表达于前B细胞至成熟B细胞阶段,既是经典抗肿瘤靶点,也是极具前景的新一代B细胞清除策略,特别是多发性硬化、系统性红斑狼疮、免疫性血小板减少症(ITP)等疾病中已有验证基础。目前该领域已有2笔国产双抗实现license-out,此外,正大天晴、爱思迈、天广实、神州细胞、君实等企业的同类产品处于临床推进阶段,整体阵容稳健。

来源:医药魔方NextPharma数据库研发赛道排名
CD19从早期B细胞前体阶段开始表达,持续贯穿整个B细胞发育周期,仅在向浆细胞终末分化时消失,因此这种靶向疗法具备更强的B细胞耗竭能力。在国产CD3/CD19双抗阵营中,同润生物、益科斯特、亿一生物、新时代药业等项目已进入临床阶段,并已有1笔license-out交易落地。

来源:医药魔方NextPharma数据库研发赛道排名
综合来看,CD3/BCMA的出海热度暂时领先,CD3/CD20与CD3/CD19凭借在自身免疫疾病中逐步实现机制验证,也可能成为下一轮TCE交易的重要靶点。
双抗实体瘤新机会
在实体瘤领域,双抗正在沿着两条极具潜力的路径加速突围:一是TCE类双抗,二是通过双通路阻断或免疫协同组合的策略。这两条路径不仅为实体瘤治疗提供了全新的思路,也让国产药企在全球竞争中逐步从“跟跑”向“并跑”甚至“领跑”转变。
虽然目前上市的TCE产品主攻血液瘤,但是如果能突破实体瘤边界,将释放更大市场空间,也具备更强的BD吸引力。这类药物的核心机制是通过重定向T细胞,精准打击肿瘤细胞。然而,实体瘤的免疫微环境复杂,且要避免对正常组织的“误伤”,因此TCE靶点的选择就至关重要。当前,国内企业已在CD3/DLL3、CD3/CLDN18.2、CD3/EGFR等高潜力双抗赛道逐步建立优势。
率先在实体瘤中取得实质性突破的是CD3/DLL3双抗,在预后较差且缺乏有效治疗手段的小细胞肺癌领域,安进/百济的塔拉妥单抗已率先获批,且仅上市半年便创下了1.15亿美元的销售佳绩,迅速印证了这一技术路径的商业化潜力。紧随其后的,是国产药企在这一新兴赛道上的迅速响应与集中发力。目前全球处于临床阶段的三款CD3/DLL3双抗中,有两款出自中国本土企业(恒瑞与信达),且多家公司已在临床前阶段提前布局,有望持续释放竞争力。

来源:医药魔方NextPharma数据库研发赛道排名
CLDN18.2作为近年来最受关注的新兴靶点之一,在胃癌/胰腺癌等实体瘤中有着较高的表达率,目标人群明确,且目前全球尚无针对该靶点的双抗药物获批,窗口期仍然存在。齐鲁制药和信达生物率先在这一赛道上突围,双双进入临床领先梯队,早期数据显示出良好的安全性和抗肿瘤活性。齐鲁更是在近期启动了CD3/CLDN18.2双抗联合化疗用于晚期胰腺癌一线治疗的注册性III期临床,显露出加速推进的战略意图。与此同时,鲁南制药、君实、东阳光、博安等企业也相继展开布局,从临床前到I期形成梯队推进。随着更多数据的积累,这一靶点有望成为国产TCE切入实体瘤的重要突破口。

来源:医药魔方NextPharma数据库研发赛道排名
CD3/EGFR双抗则瞄准了“耐药难题”,EGFR在多类肿瘤中高表达且在非小细胞肺癌(NSCLC)里高频突变,耐药后化疗成为无奈之选。时迈药业的SMET-12作为全球研发进度最快的CD3/EGFR双抗,正尝试通过一种全新的机制突破耐药瓶颈。该药同时结合EGFR阳性肿瘤细胞和T细胞,激活T细胞释放细胞因子杀伤肿瘤,不仅克服传统EGFR靶向药物的耐药问题,且对旁路激活导致耐药的患者仍然有效。
在I期临床中,SMET-12联合特瑞普利单抗及化疗治疗EGFR突变且TKI耐药的患者时,ORR达到了41.7%,DCR为100%。其下一代CD3/EGFR双抗CMDE005进一步引入了遮蔽肽设计,通过封闭CD3在正常组织中的结合活性,有效避免了T细胞过度激活导致的毒副反应,为这类双抗的深入开发提供了更安全的路径。随着机制与数据的双重推进,国产EGFR双抗赛道或将迎来全新的发展机遇。

来源:医药魔方NextPharma数据库研发赛道排名
双通路阻断策略同样在实体瘤治疗中展现出强劲势头。以EGFR/c-Met双抗为代表,强生的埃万妥单抗已完成机制验证并成功上市,在EGFR突变型NSCLC的一线治疗中,其与三代TKI联合使用可将患者的PFS延长7个月,该药还可联合化疗进一步覆盖更多NSCLC一线、二线适应症。国产同类产品中,普米斯/翰森已推进至II/III期临床,贝达的MCLA-129处于II期,并已授权海外;岸迈、恒瑞、正大天晴等企业也在早期临床持续推进中。

来源:医药魔方NextPharma数据库研发赛道排名
在PD-(L)1类双抗领域,除目前较为火爆的PD-(L)1/VEGF组合外,PD-(L)1与LAG3、TIGIT、4-1BB等多种新型组合亦受到广泛关注。通过不同免疫调节机制的协同放大,这些双抗有望进一步提升免疫治疗在实体瘤中的疗效瓶颈,为国产双抗在全球市场的竞争中增添新重要砝码。
总结
近两年,国产双抗热度持续攀升,迈入“全球输出”黄金时代。在PD-(L)1/VEGF双抗交易持续刷新交易纪录之下,国产药企并未止步于此,而是不断将目光投向其他高潜力的新靶点组合,拓宽双抗创新的广度与深度。
眼科领域的Ang2/VEGF双抗,凭借未被满足的治疗需求和良好的临床前景,有可能成为双抗出海的新突破口;血液瘤与自免双向拓展的CD3/BCMA、CD3/CD20、CD3/CD19三大TCE赛道,亦在快速兑现商业价值,并构建起更丰富的BD筹码;而在实体瘤领域,无论是TCE靶点如DLL3、CLDN18.2、EGFR,还是双通路阻断如EGFR/c-Met、PD-(L)1/多免疫组合,国产创新管线都在“跑步前进”……
未来,随着更多差异化产品和机制创新不断涌现,中国双抗有望在全球生物药格局中占据更重要的地位。国产创新药的下一程,值得期待。
产业资讯
识林
2026-01-19
144
产业资讯
识林
2026-01-19
145
产业资讯
生物制药小编
2026-01-19
147